Introduction
Use this guide to replace a broken or non-functioning LCD in your Welch Allyn 6000 series Connex vital signs monitor.
PLEASE NOTE: This repair guide was developed by the iFixit team based on Welch Allyn's own service manual. Neither iFixit nor this repair guide is endorsed by or affiliated with Welch Allyn.
Tools
-
-
Place your thumb and forefinger on the blood pressure (NIBP) hose connector. Squeeze the side tabs until the connector releases.
-
Pull the connector away from the connector port.
-
-
-
Place your thumb and forefinger on the Pulse oximetry (SpO2 or combined SpO2/SpHb) cable connector. Squeeze the side tabs until the connector releases.
-
Pull the connector away from the connector port.
-
-
-
Remove the cover of the temperature module by pressing the tab and sliding the cover to the right.
-
-
-
Depress the spring tab on the temperature probe cable connector and withdraw it from the probe port.
-
-
-
Remove the flathead screw on the USB networking door.
-
Loosen the captive Phillips #2 screw securing the monitor to the stand.
-
-
-
Remove the four Phillips #2 screws (labeled 14 in the service manual) from the rear housing.
-
-
-
With the handle/alert bar facing you, begin to lift the rear housing from the left side, holding the right side securely.
-
-
-
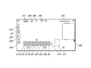
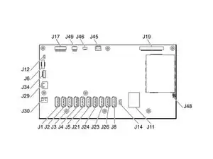
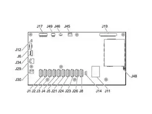
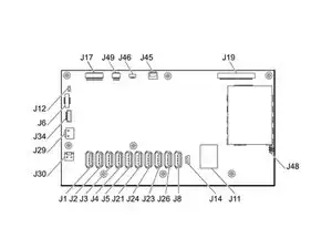
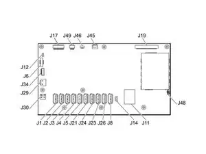
Disconnect the fan cable (labeled connector A in the service manual) from its socket in the power supply.
-
-
-
Disconnect the communications power cable from its socket (labeled J50 in the service manual).
-
-
-
Press the tab on the ethernet cable and unplug it from its socket (labeled J9 in the service manual).
-
-
-
The power supply cable is secured by an interlocking connector that must be held open to unplug the connector.
-
-
-
Grasp the power supply cable firmly and lift both it and the spudger from the channel in the power supply housing to unplug the connector.
-
-
-
Use the flat end of a spudger to "walk" the LCD cable connector (labeled J19 in the service manual) out of its socket.
-
Press first on one side of the connector, then the other to push it free. Be sure to press the connector itself, not the socket on the motherboard.
-
Pull the cable straight out of its socket.
-
-
-
Pinch the fan cable connector (labeled J45 in the service manual) and pull straight up to remove it from its socket.
-
-
-
Pull the light bar cable connector (labeled J46 in the service manual) straight up out of its socket.
-
-
-
Remove the communications board cable connector from its socket (labeled J49 in the service manual).
-
-
-
Carefully remove the speaker cable connector (labeled J12 in the service manual) from the motherboard.
-
-
-
Lift the ZIF collar securing the power button cable (labeled J6 in the service manual) with the flat end of a spudger to loosen its grip.
-
Pull the power button cable straight up from its socket.
-
-
-
Remove the smart-battery cable connector from its socket (labeled J34 in the service manual).
-
-
-
Pinch the battery power connector and lift straight up to unclip it from its socket on the motherboard (labeled J29 in the service manual).
-
-
-
Use the flat end of a spudger to separate the battery supply cable connector bracket from the socket (labeled J30 in the service manual).
-
Pull the battery supply cable connector straight up from the board.
-
-
-
Carefully pull the LCD flex cable straight up from its socket in the motherboard (labeled J48 in the service manual).
-
-
-
Remove the eight Phillips #1 screws from the motherboard.
-
The screw securing the ethernet cable bracket has a washer between it and the bracket. Take care not to lose it.
-
-
-
Lift the motherboard from the light-bar side and pull it toward the edge of the case to free the ethernet cable connector from under the case.
-
Lift the motherboard out of the case to gain access to the ethernet cable connector.
-
-
-
Remove the ethernet cable connector (labeled J11 in the service manual) from the mother board.
-
To reassemble your device, follow these instructions in reverse order.
You do not need to do all these steps.
With dry hands and a firm grip, just press on the arrow with all fingers and slide battery door out.
Anthony S -