Now that V6 nozzles are getting more advanced, as in Nickel coated brass/copper nozzles (e.g. Bondtech CHT® nozzles) the availability for Volcano hot ends seem to lag behind...
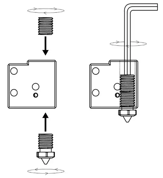
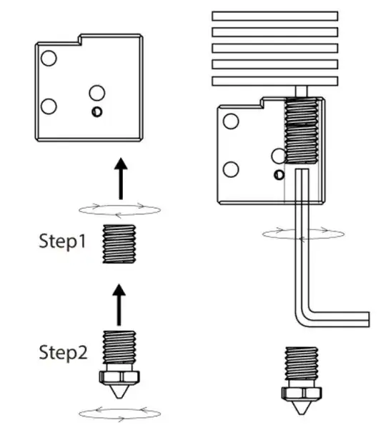
A Volcano heat break adapter/nozzle extender has been spotted on the online market places to be used together with the shorter E3D V6 nozzles.
There seems to be confusion about the mounting of the adapter.
Either from the top of the heater block:
or, from the bottom:
What is the correct positioning of the adapter considering a hex key insert is in the path of the filament, e.g. effects on retraction performance?



