4

I’m pretty sure it’s something to do with the fitting, possibly specifying to use the minimum circumscribed or maximum inscribed circle to tolerance the diameter but I can’t remember.

The tolerance would be in the form

⌀123 ± 0.01 Ⓔ

In case the Unicode doesn’t work correctly that’s

[Diameter Symbol] [value] [plus minus symbol] [value] [E in a circle]

Notts90
  • 143
  • 1
  • 4

2 Answers2

3

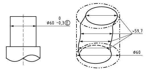
Like promised, I am now looking at EN ISO 14405-1:2016 where this E symbol (Ⓔ) is defined. More accurately is defined in section "3.8 envelope requirement".

  1. The upper value of a external feature defines a virtual cylinder that the entire feature has to fit inside. Likewise a internal features minimum value defines a cylinder that has to fit inside the hole.

  2. Each slice of needs to be smaller or bigger (for internal features) than the other tolerance value measure as a two point size (imagine measuring with a caliper)

Note: Nowehere does it say the cylinder is aligned to the centerline

enter image description here

Image 1: Cylinder needs to be inside the envelope and not point measured smaller than the minimum size.

See relevant standard for more robust explanation.

joojaa
  • 3,530
  • 1
  • 13
  • 27
  • So when measuring use the minimum circumscribed for an OD (cylinder) and maximum inscribed for an ID (hole). Thanks. – Notts90 Oct 25 '17 at 09:39
2

The Ⓔ is one of the options in the "feature control frame" as defined in the ISO 8015 standard, or ASME Y14.5M.

It stands for "envelope requirement." The basic idea is that the tolerance of the feature should not exceed the perfect geometrical shape at the maximum material size, which is identified by the symbol Ⓜ.

See http://www.globalspec.com/reference/43764/203279/chapter-10-envelope-requirement for an example. The standard documents themselves give the definitive explanation, of course.

alephzero
  • 12,587
  • 1
  • 12
  • 27
  • any chance we can get a few pictures on this explanation? Seems fairly link dependent, and I personally never heard of this before. Seems like a chance for an answer that can particularly shine on this site. – Mark Oct 24 '17 at 17:05
  • @Mark this does fit with my understanding but I’ll double check my copy of ASME tomorrow. I’ve seen it before but not for a while so couldn’t remember the details. – Notts90 Oct 24 '17 at 20:12
  • Actually it seems e is defined in ISO 14405-1 although mentioned in the definition of ISO 8015 – joojaa Oct 25 '17 at 08:25