Can somebody please explain what relief amount at the end of cut in a grooving operation on lathe is?
Asked
Active
Viewed 95 times
1 Answers
2
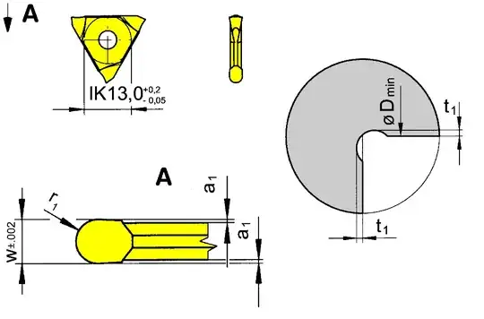
A groove will have a very slight internal radius in its corner, but if this is undesirable, then a relief grooving tool is used to remove this material. The relief grooving tool comes in at 45 Deg to cut as shown:

Jonathan R Swift
- 7,727
- 1
- 14
- 27