So my father has this patent, and I'm not entirely sure how a certain aspect of it is supposed to be working. I understand how it can be useful, but I don't understand how such a seemingly simple concept has not yet been applied.
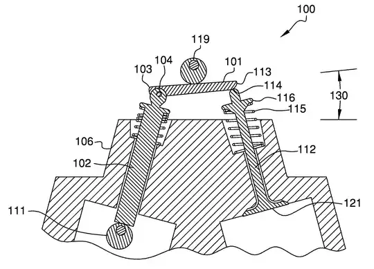
The part labelled 119 is an eccentric cam, and as it rotates it can advance or retard the timing of the valve opening. Does it achieve this by changing the leverage? He claims it's "pre-loading" the spring so that the rocker assembly doesn't need as much force to open the spring, and thus it opens sooner. But, don't springs have a constant force?
I'm not familiar with patent drawings, but I'm fairly sure there is an additional piece holding up part 101 that has what was described as a "float spring" , that will not allow 101 to pivot until it is bottomed out.
I've asked him these questions, but he's not an educated man and I'm no engineer.
tldr; how does part 119 advance/retard valve timing?
