I want to know what bearings might allow a sphere (5cm diameter) to roll in-place most freely.
The closest mechanism that matches what I might want to achieve is a "ball transfer", I believe the term is.
I have been unable to find: - an explanation of the internal mechanisms they use - if there are different implementations - how freely the ball can roll, and in what motion relative to the base.
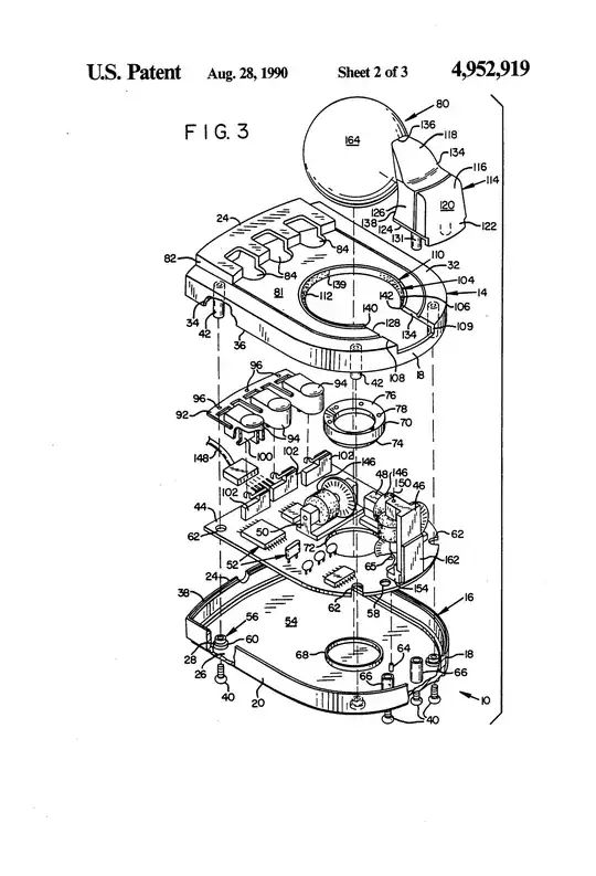
My goal is to have a mechanism that supports a ball the size and weight of a snooker ball, so it can be used as a trackball (to replace a PC mouse, or touchpad). An optical sensor from an optical mouse would be placed underneath, to detect the movement of the ball, so spinning on that point is not necessary, but the sphere should have the lowest possible friction when its surface sweeps over the sensor.
The reason low friction is required, is it would allow the user to transverse a large screen distance by giving the ball momentum, and then stopping it would allow the user to resume precise placement.
One solution I considered was to have extremely small castor-wheels, three of which would be placed around the base of the ball. But I have not found any such castors; their wheels would have to have a diameter of around 1cm or less.
Another idea was to use a number of ball transfers to support the sphere itself, but again, ball transfers seem to be rather bulky, their balls having a diameter around 2-3cm, plus a rather large mechanism surrounding them. And I do not know how much friction they would still have, since they seem to be made to support far heavier loads (>20kg) than that of the snooker ball (250g)
Can anyone give me any other solutions, and/or highlight pros/cons I need to be aware of?

